Skip to content

推广效果

词令联盟推广效果是指通过推广产生有效的推广订单数据。推广效果有2处可以查询分别为:推广项目推广效果查询和词令联盟效果管理订单明细。

推广项目效果查询

推广项目推广效果查询是通过推广项目进入,在已创建推广口令的后面和项目的顶部都有入口。进入推广效果可以查询到该推广项目下产生的推广订单数据。

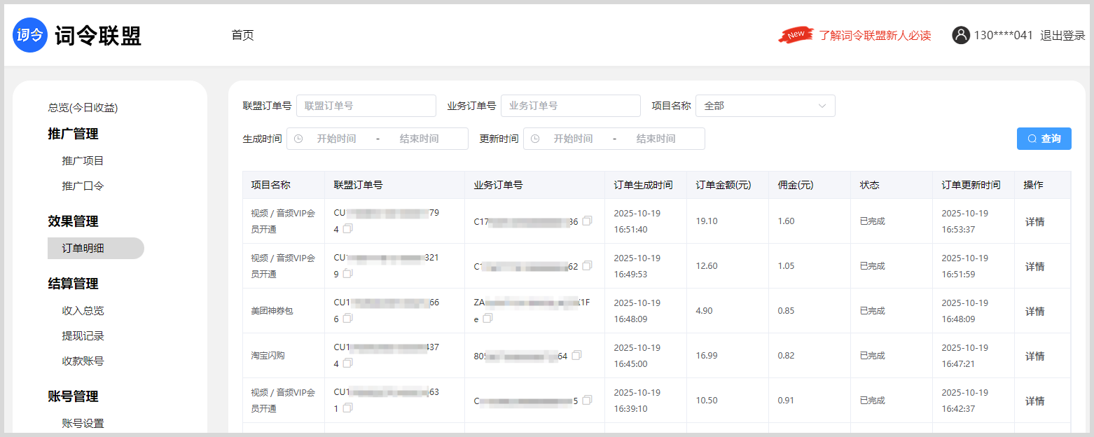
效果管理订单明细

在词令联盟 > 效果管理 > 订单明细内可以查询到所有推广项目,最新产生的推广订单数据。点击订单后面的操作详情,可进入推广项目效果报表查询到推广订单更多的数据。